В. Маслов
Мне пришлось натолкнуться в одном французском журнале ("Radio Amarteurs" за 1929 год № 57) на интересную схему суперрефлекса. По заявлению этого журнала схема эта пользуется большим распространением в обеих Америках.

Внешний вид приемника "Суперрефлекс"
При испытании схемы этого приемника с нашими деталями вполне подтвердились те отзывы, которые давал о ней этот журнал.
Малое число ламп в этом приемнике, простота настройки и наличие двух ступеней усиления низкой частоты - дает право этот приемник назвать "полумощным любительским".
Благодаря суперрегенерации и большой чувствительности этот приемник дает возможность приема на рамку. Для приема на рамку нужно только вывести в рамке среднюю точку и включить рамку вместо катушки L1.

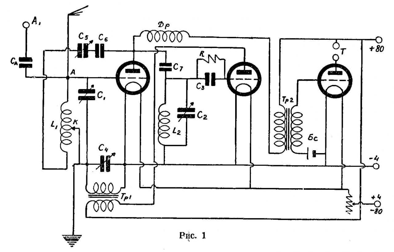
Рис. 1. Схема приемника "Суперрефлекс"
Собственно, ничего нового схема этого приемника (рис. 1) собой не представляет. Это только новая комбинация суперрегенеративного приемника с рефлексным, причем колебательным контуром промежуточной частоты служит вторичная обмотка трансформатора низкой частоты Tp1. Схема эта заключает в себе таким образом: комбинацию 1-V-2 с суперрегенеративным эффектом, что в некоторых случаях делает приемник эквивалентным 2-V-2 или даже более чувствительным в особо благоприятных условиях при приеме волн ниже 800-700 метров (как известно, суперрегенеративные приемники особенно хорошо работают именно на волнах ниже 703 м). Испытания, произведенные с этим приемником, полностью подтвердили это положение. На волнах выше 1000 метров выгоды суперрегенерации сказываются сравнительно слабо, и приемник работает как обычный - 1-V-2 рефлексный. Схема прохождения токов высокой и низкой частоты приведена на рис. 2 (путь высокой частоты указан коротким пунктиром, а путь низкой - длинным).

Рис. 2. Схема прохождения токов высокой и низкой частоты
Антенна может быть приключена к приемнику или непосредственно к клемме А (рис. 1) или же через конденсатор постоянной емкости СА=100 пФ (к клемме A1). При включении антенны через конденсатор С/А легче получается суперрегенерация и повышается острота настройки. Колебательные вонтуры L1С1 и L2С2 настраиваются на частоту приходящих колебаний. Они могут быть выполнены различно, в зависимости от средств радиолюбителя. В описываемом приемнике применены простые сотовые катушки и конденсаторы "Мэмза" емкостью по 750 пФ. Так как обычна фабричные катушки не имеют среднего вывода, то нужно его сделать самому. Конструкция сотовых катушек очень удобна для этой цели. Вывод может быть сделан и не точно в "электрической середине" катушки. Вполне достаточно найти средний по счету виток катушки и, припаяв к нему небольшой проводничок, соединить его с боковой металлической обоймочкой катушки, которая и будет служить контактом К при включении ее в схему. К этому отводу К присоединяется через специальный пружинящий упор один конец конденсатора C1.
Конденсатор обратной связи С5 должен быть емкостью порядка 300-430 пФ. В описываемой конструкции применен конденсатор "Мэмза" 750 пФ, соединенный ииследователъно с постоянным конденсатором С6 - 500 пФ.
Общая емкость их, как легко сосчитать, будет равна 303 пФ.
Такой способ удобен тем, что, не разбирая конденсатора, можно уменьшить общую емкость.

Рис. 3. Способ крепления конденсаторов C3, C7 и сопротивления утечки сети R.
Трансформаторы Tp1 и Тр2 завода "Радио". Первый из них Tp1 с отношением витков 4 000:12 030, второй Тр2 с отношением 5 003 : 10 000 витков. Сердечник трансформатора Тр2 полезно заземлить. На сетку третьей лампы дается отрицательное смещение от батарейки для карманного фонаря Бс. Эта батарейка может работать очень долго, почему удобнее ее замонтировать в средину приемника так, как указано на рис. 4.

Назначение дросселя Др - не пропускать токи высокой частоты от анода первой лампы и вместе с тем оставлять открытым путь токам низкой частоты и постоянному току. В качестве дросселя может быть применена любая катушка с достаточной самоиндукцией. В нашем приемнике применен дроссель, выполненный по "Р. В." К 6 за 1929 г. (стр. 168). Это однослойная цилиндрическая катушка диаметром 40 мм и высотой в 100 мм. Проволока - эмалированная 0,2 мм намотана секциями: 7 секций по З3 витка в каждой секции (всего 210 витков).
Конечно, дросселем Др может служить и обычная сменная сотовая катушка, что будет пожалуй даже удобнее, так как в: каждом отдельном случае можно подобрать наивыгоднейшую величину самоиндукции дросселя. Гридлик обычный: Са=100 пФ и R около 2 МОм. Назвать точно величину утечки сетки R вообще трудно, поэтому удобнее всего применить моитаж, допускающий быструю замену одного сопротивления другим. На рис. 3 показан удобный способ крепления конденсаторов C3, C7 и сопротивления утечки сети R.
Конденсатор С4 - переменный, емкостью в 500 пФ. Удобен паяный завода "Радио" вследствие его малого размера.
Монтаж, произведенный на двух взаимно перпендикулярных панелях, достаточно ясно представлен на фотографиях (рис. 5, рис. 6) и не представит особых затруднений.

Рис. 5. Суперрефлекс (вид снизу)

Рис. 6. Суперрефлекс (вид сверху)
Работа и результаты
Настройка, приемника нисколько не отличается от настройки всякого другого суперрегенератора. Любитель, имеющий навык в работе хоть с каким-либо суперрегенеративным приемником, хотя бы по схеме журнала "Р. В." № 16 за 1928 год, - сразу же освоится и с этим приемником. Общий метод таков: настраиваются на какую-либо станцию конденсаторами С1 и С2, вводят обратную связь конденсатором: С5 и, вращая конденсатор С4, получают устойчивую суперрегенерацию, т.е. прием без заметного свиста. Суперрегенерация получается очень легко, так что иногда даже приходится уменьшать накал ламп, ввиду слишком бурного ее возникновения. После первичной настройки, при пуске аппарата в ход, конденсатор Q, можно совсем не трогать; нужно лишь следить за тем, чтобы всякий раз получалась регенерация. При п ерекрытии большого диапазона, конечно, придется всякий раз немного подрегулировать конденсатор суперрегенерации С4. Вообще же регулировка и настройка приемника, сложная только на первый взгляд, оказывается в работе не сложнее, чем управление обычным 1-V-0 с настроенным анодом.
Источник: Маслов В. Суперрефлекс. "Радио всем", 1930. - № 12. - С.385-386.
Комментарии