Простой радиоприемник коротковолновика-наблюдателя
В. Поляков (RA3AAE)
Продолжая цикл статей по основам любительской радиосвязи, начатый в августовском номере журнала за прошлый год описанием простого передатчика с кварцевой стабилизацией на любительский диапазон 160 метров, предлагаем конструкцию простого гетеродинного радиоприемника на тот же диапазон. Приемник может заинтересовать как начинающих коротковолновиков-наблюдателей, так и более опытных радиоспортсменов. Благодаря своей экономичности и небольшим габаритам приемник особенно подходит для работы в полевых условиях.
Для приема сигналов радиолюбительских станций обычные массовые радиовещательные приемники непригодны без их настолько существенной модернизации, что проще построить приемник заново. Дело даже не в их низкой чувствительности и излишне широкой полосе пропускания, а в том, что они рассчитаны на прием амплитудно-модулированных (AM) сигналов. Любители же давно отказались от AM ввиду ее низкой эффективности и используют на коротких волнах (KB) исключительно телеграф (CW) или однополосную модуляцию (SSB) речевым сигналом. По этой причине и приемник должен проектироваться на совершенно иных принципах. В частности, в нем не нужен амплитудный детектор, а основное усиление целесообразно сделать на низких, звуковых частотах, где это гораздо проще и дешевле.
CW сигнал представляет собой короткие и длинные посылки немодулированной несущей частоты, лежащей в одном из радиолюбительских диапазонов, в нашем случае 1,8...2 МГц (160 метров). Чтобы сигнал зазвучал привычной мелодией азбуки Морзе, его высокую частоту необходимо преобразовать вниз, в диапазон 3Ч. Это делает установленный на входе приемника (рис. 1), сразу после входного фильтра Z1, преобразователь частоты, содержащий смеситель U1 и маломощный вспомогательный генератор — гетеродин G1.
Предположим, мы хотим принять CW сигнал на частоте 1900 кГц. Настроив гетеродин на частоту 1901 кГц, мы получим на выходе смесителя сигналы суммарной (3801 кГц) и разностной (1 кГц) частот. Суммарная частота нам не нужна, а сигнал разностной, звуковой частоты отфильтруем (Z2), усилим в УЗЧ А1 и подадим на телефоны BF1. Как видите, приемник действительно очень прост.
SSB сигнал представляет собой тот же звуковой, но со спектром, перенесенным в область радиочастот. На низкочастотных любительских диапазонах (160, 80 и 40 метров) спектр SSB сигнала еще и инвертирован (излучается нижняя боковая полоса, LSB). Это значит, что при несущей частоте SSB сигнала 1900 кГц его спектр простирается от 1897 до 1899,7 кГц, т. е. 1900 кГц - (0,3....3 кГц). Подавляемая верхняя боковая (USB) занимает полосу частот 1900,3...1903 кГц, как видно на спектрограмме (рис. 2). Излучаемая LSB выделена утолщенными линиями. Для приема этого сигнала достаточно настроить гетеродин точно на частоту 1900 кГц.
Гетеродинный приемник изобрели еще на заре радиотехники, ориентировочно в 1903 году, когда еще не было ни ламп, ни других усилительных приборов, но уже были антенны, телефоны и генераторы незатухающих колебаний (дуговые, электромашинные). Последующее десятилетие для слухового приема телеграфных сигналов применялись исключительно гетеродинные приемники. Затем были изобретены ламповый регенератор, или аудион (1913 г.), супергетеродин (1917 г.), кстати, получивший свое название от гетеродинного приемника, широко стали использовать AM, и о гетеродинных приемниках прочно и надолго забыли.
Возродили эту технику радиолюбители в 60—70-х годах прошлого века, доказав на практике, что приемник на трех-четырех транзисторах может принимать радиостанции всех континентов, работая не хуже больших многоламповых аппаратов. Но название стало другим — приемник прямого преобразования (Direct Conversion Receiver, DCR), чем подчеркивался факт непосредственного преобразования (именно преобразования, а не детектирования) частоты радиосигнала в низкую звуковую частоту.
Снова обращаясь к рис. 1, поясним назначение фильтров. Входной полосовой фильтр Z1 ослабляет мощные внеполосные сигналы служебных и радиовещательных станций, которые могут создавать помехи. Его полоса пропускания может равняться ширине любительского диапазона, а если она уже, фильтр делают перестраиваемым. Ослабляет он и побочные каналы приема, возможные на гармониках гетеродина. Фильтр Z2 — это ФНЧ, пропускающий только "телефонную" полосу звуковых частот ниже примерно 3 кГц. Самые же низкие частоты, ниже 300 Гц, достаточно ослабляются разделительными конденсаторами в УЗЧ.
Фильтр Z2 определяет селективность приемника: сигналы радиостанций, расположенных далее 3 кГц от частоты гетеродина, создают на выходе смесителя частоты выше 3 кГц, следовательно, будут эффективно отфильтрованы в ФНЧ. К селективности приемника добавляется и селективность телефонов, плохо воспроизводящих частоты выше 2,5...3 кГц, и естественная селективность человеческого слуха, прекрасно различающего тон сигналов и выделяющего полезный сигнал на фоне помех — ведь если частоты различаются в радиодиапазоне, после преобразования они будут различаться и в звуковом диапазоне. Ничего этого нет и в помине в AM приемниках с детектором — ему все равно, какие сигналы детектировать (на частоту он не реагирует), в результате все сигналы, прошедшие через радиотракт, создают помехи.
К недостаткам гетеродинного приемника относится двухполосный прием: в нашем примере приема CW сигнал помехи с частотой 1902 кГц также даст разностную частоту 1 кГц и будет принят. Иногда такую помеху удается устранить. Дело в том, что на сигнал с частотой 1900 кГц возможны две настройки — верхняя (частота гетеродина равна 1901 кГц) и нижняя (1899 кГц). Если помеха слышна при одной настройке, то, возможно, ее не будет при другой.
На SSB сигнал возможна только одна настройка — 1900 кГц, но все сигналы с частотами 1900... 1903 кГц будут создавать помехи (см. рис. 2) и устранить их нельзя. Этот недостаток существенен только при приеме в "pile—up", когда на близких частотах "сбились в кучу" множество станций, услышав, например, редкого "DX". При обычном же приеме, когда станций немного и между их частотами есть значительные промежутки, этот недостаток совершенно незаметен.
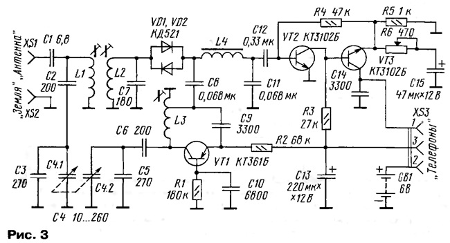
Принципиальная схема приемника показана на рис. 3. Входной сигнал от антенны через конденсатор связи С1 небольшой емкости поступает на двухконтурный полосовой фильтр. Первый контур фильтра L1C2C3C4.1 имеет относительно высокую добротность и, следовательно, узкую полосу пропускания, поэтому он перестраивается по частоте с помощью одной секции сдвоенного КПЕ С4.1. Второй контур L2C7 перестраивать нет необходимости, поскольку он сильно нагружен смесителем, его добротность ниже, а полоса пропускания шире, поэтому он не перестраивается и пропускает всю полосу частот 1,8...2 МГц.

Смеситель приемника собран на двух диодах VD1 и VD2, включенных встречно-параллельно. Через конденсатор С8 (он же входит и в ФНЧ) на смеситель подается напряжение гетеродина с отвода катушки L3. Гетеродин перестраивается в полосе частот 0,9...1 МГц другой секцией КПЕ — С4.2. Как видим, частота гетеродина вдвое ниже частоты сигнала, что необходимо по самому принципу действия смесителя. Работает он следующим образом. Для открывания кремниевых диодов необходимо напряжение около 0,5 В, а амплитуда гетеродинного напряжения, подаваемого на диоды, едва достигает 0,55...0,6 В. В результате диоды поочередно открываются только на пиках положительной и отрицательной полуволн гетеродинного напряжения, т. е. дважды за период.
Так происходит коммутация сигнальной цепи с удвоенной частотой гетеродина. Смеситель особенно удобен для гетеродинных приемников, поскольку сигнал гетеродина практически не излучается антенной, сильно ослабляясь входным фильтром, и не создает помех ни окружающим (этим грешили первые гетеродинные приемники, в которых гетеродин работал на частоте сигнала и подавить его излучение было нелегко), ни собственному приему.
Гетеродин выполнен по схеме "индуктивной трехточки" на транзисторе VT1. Его контур L3C6C5C4.2 включен в коллекторную цепь транзистора, а сигнал обратной связи поступает через конденсатор С9 в эмиттерную цепь. Необходимый ток смещения базы задается резистором R1, зашунтированным для токов высокой частоты конденсатором С10.
Преобразователь спроектирован так, что не требует кропотливой работы по подбору оптимального напряжения гетеродина на диодах смесителя. Этому способствует легкий режим работы гетеродина при малом напряжении коллектор—эмиттер транзистора (около 1,5 В) и малом коллекторном токе — менее 0,1 мА (обратите внимание на большое сопротивление резистора R2). В этих условиях гетеродин возбуждается легко, но как только амплитуда колебаний возрастет до примерно 0,55 В на отводе катушки, диоды смесителя открываются на пиках колебаний и шунтируют контур гетеродина, ограничивая дальнейший рост амплитуды.
ФНЧ приемника C8L4C11 — это простейший П-образный фильтр третьего порядка, обеспечивающий крутизну ската 18 дБ на октаву (двукратное увеличение частоты) выше частоты среза 3 кГц.
УЗЧ приемника двухкаскадный, он собран на малошумящих транзисторах VT2 и VT3 серии КТ3102 с высоким коэффициентом передачи тока. Для упрощения усилителя использована непосредственная связь между каскадами. Сопротивления резисторов выбраны так, что режим транзисторов по постоянному току устанавливается автоматически и мало зависит от колебаний температуры и питающего напряжения. Ток транзистора VT3, проходя через резистор R5, включенный в эмиттерную цепь, вызывает на нем падение напряжения около 0,5 В, достаточное для открывания транзистора VT2, база которого подключена через резистор R4 к эмиттеру VT3. В итоге, открываясь, транзистор VT2 понижает напряжение на базе VT3, предотвращая дальнейший рост его тока.
Другими словами, УЗЧ охвачен стопроцентной отрицательной обратной связью (ООС) по постоянному току, жестко стабилизирующей его режим. Этому способствуют относительно большое (по сравнению с общепринятыми) сопротивление коллекторной нагрузки VT1 — резистора R3 и малое — резистора R4. На переменном токе звуковых частот ООС не действует, поскольку они замыкаются через блокировочный конденсатор большой емкости С15. Последовательно с ним включен переменный резистор R6 — регулятор громкости. Вводя некоторое сопротивление, мы тем самым создаем и некоторую ООС, снижающую усиление. Такой способ регулирования громкости хорош тем, что регулятор установлен в цепи уже усиленного сигнала и не требует экранирования. К тому же вводимая ООС снижает и без того небольшие искажения сигнала в усилителе. Недостаток — громкость регулируется не до нуля, но обычно это и не нужно. Телефоны включаются в коллекторную цепь транзистора VT3 (через разъем XS3), червз их катушки протекает и переменный ток сигнала, и постоянный ток транзистора, что дополнительно подмагничивает телефоны и улучшает их работу. Налаживания УЗЧ не требует.
О деталях. Подбор их начинайте с головных телефонов. Нужны обычные телефоны электромагнитной системы с жестяными мембранами, обязательно высокоомные, с общим сопротивлением постоянному току 3,2...4,4 кОм (от телефонных аппаратов не годятся — они низкоомные). Автор использовал телефоны ТА-56м с сопротивлением каждого 1600 Ом (указывается на корпусе). Годятся также ТА-4, ТОН-2, ТОН-2м, еще выпускаемые заводом "Октава". В этом приемнике нельзя использовать миниатюрные наушники от плееров, имеющие низкую чувствительность.
Вилка включения телефонов заменяется стандартным круглым трех- или пятиштырьковым разъемом от звуковоспроизводящей аппаратуры. Между выводами 2 и 3 штырьковой части разъема устанавливают перемычку, которая служит для подключения батареи питания GB1. При отсоединении телефонов батарея будет отключаться автоматически. Бывший плюсовый вывод шнура телефонов соединяется со штырьком 2, это обеспечит сложение магнитных потоков, создаваемых током подмагничивания и постоянными магнитами телефонов.
Следующая ответственная деталь — КПЕ. Автору повезло — удалось найти малогабаритный сдвоенный КПЕ от переносного транзисторного приемника со встроенным шариковым верньером. Использовать КПЕ без верньера можно, прием CW станций при этом проблем не вызовет, а вот точная настройка на SSB станции будет затруднена, поскольку плотность настройки 400 кГц на оборот великовата. Подберите ручку настройки максимального диаметра или сконструируйте верньер самостоятельно, используя подходящий шкив и тросик. КПЕ с воздушным диэлектриком лучше, но годятся и малогабаритные КПЕ с твердым диэлектриком от транзисторных приемников. Часто они уже оснащены шкивами верньера. Емкость конденсатора некритична, необходимое перекрытие диапазона можно подобрать "растягивающими" конденсаторами СЗ, С5 (их емкости должны быть одинаковы) и С2, С6 (емкости также одинаковы).
Катушки приемника намотаны на стандартных трехсекционных каркасах, используемых в транзисторных приемниках. Если у каркасов четыре секции, ближняя к основанию секция не используется. Витки равномерно распределяются во всех трех секциях каркаса, намотка ведется "внавал". Каркасы оснащены ферритовыми под-строечниками диаметром 2,7 мм. Подойдет провод ПЭЛ диаметром 0,12— 0,15 мм, но желательно применить ПЭЛШО, а еще лучше — литцендрат, скрученный из нескольких (5—7) проводников ПЭЛ 0,07—0,1 или готовый литцендрат в шелковой оплетке, например, ЛЭШО 7x0,07.
Катушки L1 и L2 содержат по 70 витков, L3 — 140 витков с отводом от 40-го витка, считая от вывода, соединенного с общим проводом. Катушка ФНЧ L4 намотана на кольце К10x7x4 из феррита с магнитной проницаемостью 2000 и содержит 240 витков провода ПЭЛ или ПЭЛШО 0,07—0,1. Ее намотка при отсутствии опыта может вылиться в проблему (автор намотал ее менее чем за час). Используйте челнок, спаянный из двух отрезков медного провода длиной около 10 см. На концах провода слегка разводятся, образуя "вилочки", в которые и укладывается тонкий обмоточный провод. Его лучше сложить вдвое и намотать 120 витков, затем начало одного провода соединить с концом другого (для идентификации выводов нужен омметр). Образовавшийся средний вывод не используется.
Катушку L4 можно заменить первичной обмоткой выходного или переходного трансформатора от карманных приемников. Если ее индуктивность окажется слишком большой и частота среза ФНЧ понизится, что будет заметно на слух по ослаблению высших частот звукового спектра, емкость конденсаторов С8 и С11 следует несколько уменьшить. В крайнем случае, катушку можно заменить даже резистором сопротивлением 2,7...3,6 кОм. При этом емкость конденсаторов С8 и С11 надо уменьшить в 2...3 раза, селективность и чувствительность приемника несколько уменьшатся.
Конденсаторы, входящие в состав контуров, должны быть керамическими, слюдяными или пленочными, с хорошей стабильностью емкости. Здесь не годятся миниатюрные конденсаторы с ненормированным ТКЕ (температурным коэффициентом емкости), обычно они оранжевого цвета. Не бойтесь использовать старинные конденсаторы типов КТ, КД (керамический трубчатый либо дисковый) или КСО (слюдяной опрессованный). Менее строги требования к конденсаторам С8—С11, здесь подойдут любые керамические или металлобумажные (МБМ), кроме конденсаторов из низкочастотной керамики групп ТКЕ Н70 и Н90 (емкость последних может изменяться чуть ли не в 3 раза при колебаниях температуры). К остальным конденсаторам и резисторам особых требований не предъявляется. Емкость конденсатора С12 может лежать в пределах от 0,1 до 1 мкФ, С13 — от 50 мкФ и выше, С15 — от 20 до 100 мкФ. Переменный резистор регулятора громкости — любой малогабаритный, например, типа СПЗ-4.
В смесителе допустимо использовать практически любые кремниевые высокочастотные диоды, например, серий КД503, КД512, КД520— КД522. Кроме указанного на схеме транзистора КТ361Б (VT1) подойдет любой из серий КТ361, КТ3107. Транзисторы VT2, VT3 — любые кремниевые с коэффициентом передачи тока 150...200 и более.
Плоская шестивольтовая батарея питания взята от использованной кассеты фотоаппарата "Поляроид". Возможны и другие варианты: четыре гальванических элемента в последовательном соединении, батарея "Крона". Ток, потребляемый приемником, не превышает 0,8 мА, поэтому любого источника питания хватит надолго, даже при ежедневном длительном прослушивании эфира.
Конструкция приемника зависит от корпуса, который вам удастся подобрать. Автор использовал коробку для ниток из толстой пластмассы (см. фото приемника в «Радио», 2003, № 1) размерами 160x80x40 мм. Собственно, весь приемник монтируется на передней панели, одновременно служащей крышкой для коробки. Панель нужно вырезать из односторонне фольгированного гетинакса или стеклотекстолита. Желательно подобрать материал с красивой нефольгированной поверхностью (у автора — черный гетинакс). В панели сверлятся отверстия под гнезда антенны и заземления, КПЕ, регулятор громкости, затем фольга зачищается до блеска мелкой наждачной бумагой и промывается водой с мылом.
Разъем для телефонов устанавливают на нижней боковой стенке коробки (рис. 4). Батарею питания кладут на дно коробки и прижимают через картонную прокладку скобой из тонкой упругой латуни или жести, упирающейся в боковые стенки коробки. Выводы батареи делают из обычных монтажных проводов. Их зачищенные концы вставляют в окна, имеющиеся в картонном корпусе батареи, до установки батареи в приемник. Минусовый вывод припаивают к корпусу телефонного разъема, плюсовый — к гнезду 2. Разъем соединяют с платой приемника четырьмя свитыми проводниками достаточной длины.
Монтаж приемника навесной. Те детали, один вывод которых соединен с общим проводом, припаивают этим выводом (укороченным до минимальной длины) непосредственно к фольге. Тогда оставшийся вывод служит одновременно и монтажной стойкой, к которой припаивают, в соответствии со схемой, выводы других деталей. Один из соединяемых выводов рекомендуется даже изогнуть в виде колечка или монтажного лепестка. Если позволяет конструкция детали (конденсаторы типа КСО, оксидные), ее корпус полезно закрепить на плате каплей клея. Другими монтажными лепестками служат выводы КПЕ и регулятора громкости. Пружинящий вывод от роторных пластин КПЕ обязательно соединяют с фольгой платы отдельным проводником — это избавит от возможных скачков частоты при перестройке приемника, так как электрический контакт через подшипники отнюдь не самый лучший.
При установке катушки ФНЧ к плате припаивают короткий отрезок одножильного монтажного провода и сгибают его перпендикулярно плате. На него надевают последовательно толстую картонную или пластмассовую шайбу, катушку, еще одну такую же шайбу и закрепляют все каплей припоя. Верхний конец опорного провода должен быть изолирован, чтобы не образовалось короткозамкнутого витка. Если верхнюю шайбу сделать пошире, то на ней удобно закрепить выводы конденсаторов С8 и С11. Даже не сверля отверстий, вывод удается "проплавить" сквозь пластмассу паяльником.
Каркасы контурных катушек обычно имеют четыре вывода для установки на печатную плату. Три из них припаивают к фольге платы приемника, оставшийся используют для закрепления "горячего" вывода катушки и как монтажный лепесток. Расстояние между осями катушек L1 и L2 для получения оптимальной связи должно быть около 15 мм. Если приемник предполагается брать с собой в походы, когда нередко случается сырая погода, витки всех катушек лучше залить парафином. Для этого достаточно паяльника и огарка свечи. То же относится и ко всем картонным изолирующим деталям.
Примерное расположение деталей на плате приемника показано на рис. 5. Возможен и "приборный" вариант конструкции приемника (для домашнего пользования), когда передняя панель располагается вертикально, гнездо антенны — справа, а регулятор громкости — слева. В этом случае целесообразно разъем телефонов установить на передней панели слева, рядом с регулятором громкости, а корпус сделать из металла для защиты от наводок, создаваемых другой аппаратурой, стоящей на столе.
При других вариантах конструкции приемника следует соблюдать общие правила: входные цепи и контуры не располагать близко к гетеродину, лучше поместить их по разные стороны от КПЕ, корпус которого послужит естественным экраном; гетеродинную катушку не располагать близко к краю платы, чтобы исключить влияние рук на частоту; входные и выходные цепи УЗЧ разнести подальше, чтобы уменьшить вероятность его самовозбуждения. В то же время соединительные проводники должны быть короткими и пролагаться близко к металлизированной поверхности платы. Лучше вообще обходиться без соединительных проводников, используя только выводы деталей. Чем больше соединенного с общим проводом металла будет в конструкции, тем лучше. Легко убедиться по иллюстрациям, что в предлагаемой конструкции эти правила соблюдены.
Настройка приемника несложна и сводится к установке требуемой частоты гетеродина и настройке входных контуров по максимуму сигнала. Но прежде чем включать приемник, тщательно проверьте монтаж и устраните обнаруженные ошибки. В работоспособности УЗЧ убеждаются, прикоснувшись к одному из выводов катушки ФНЧ. В телефонах должно быть слышно громкое "рычание". В рабочем же режиме будет слабо прослушиваться шум от первого каскада.
Проверить работу гетеродина и установить его диапазон перестройки 0,9...1 МГц проще всего с помощью любого радиовещательного приемника со средневолновым диапазоном. В этом приемнике сигнал гетеродина будет прослушиваться как мощная радиостанция в паузах передачи. Приемник с магнитной антенной надо расположить рядом, а если у приемника имеется только гнездо для подключения внешней антенны (теперь такие приемники — редкость), то в него надо вставить отрезок провода, поднесенный к катушке гетеродина. В случае отсутствия генерации надо установить транзистор VT1 с большим коэффициентом передачи тока и/или впаять резистор R2 меньшего сопротивления. Уточнить градуировку шкалы вспомогательного приемника можно по сигналам местных радиостанций, частоты которых известны. В центре России — "Радио России" (873 кГц), "Свободная Россия" (918 кГц), "Радиоцерковь" (963 кГц), "Славянка" (990 кГц), "Резонанс" или "Народная волна" (1017 кГц).
Этими же сигналами можно воспользоваться и для градуировки шкалы нашего приемника. Методика такова: настраивают вспомогательный приемник на частоту радиостанции, включают настраиваемый приемник и изменяют частоту его гетеродина ручкой настройки и подстроечником катушки L3 до тех пор, пока сигнал гетеродина не наложится на сигнал станции. В громкоговорителе вспомогательного приемника будет слышен свист — биения двух сигналов Продолжая подстройку, понижают его тон до нулевых биений и отмечают точку на шкале — здесь частота настройки нашего приемника точно равна удвоенной частоте радиостанции. Если сигнал станции во вспомогательном приемнике совсем забивается сигналом нашего гетеродина, немного увеличивают расстояние между приемниками.
Последняя операция — настройка входных контуров. Подсоедините антенну длиной не менее 5 м, можно даже комнатную. Наверняка вы уже примете какие-нибудь сигналы. Поочередным вращением подстроечников катушек L1 и L2 добейтесь максимальной громкости приема. Окончательно подстроить входные контура удобнее на свободном от радиостанций участке диапазона, просто по максимуму шума зфира. Следует отметить, что подстройка контура L2C7 слегка влияет на частоту гетеродина, но при настройке по шуму это не имеет никакого значения. Убедиться в правильности настройки можно, подключая и отключая антенну: шум эфира должен во много раз превосходить внутренний шум приемника.
Результаты проверки работы приемника. Чувствительность его, измеренная с помощью генератора стандартных сигналов (ГСС), оказалась около 3 мкВ. Это не удивительно, если учесть высокое усиление УЗЧ (более 10 000) и наличие чувствительных телефонов. Смеситель приемника собственных шумов практически не вносит, а УРЧ в нем нет.
Слушать эфир предпочтительнее в вечернее и ночное время, когда диапазон 160 метров "открыт" (есть дальнее прохождение радиоволн). В дневное же время можно услышать только местные станции, если они работают (а любители, зная условия прохождения радиоволн, днем обычно и не выходят в эфир в этом диапазоне).
Не имея в данное время антенны на диапазон 160 метров, автор испытал приемник с временной проволочной антенной длиной не более 10м, включая снижение. Она была протянута с балкона к ограждению крыши и там закреплена на шесте высотой не более 1,5 м. Тем не менее уверенно принимались SSB станции европейской части России от Карелии до Поволжья и Краснодарского края, а также Украины и Белоруссии. Телеграфом слышны были станции Испании и Сибири (называю только самые дальние). "Заземление" на отопительную батарею или водопроводную трубу значительно увеличивало громкость приема. Таким образом, принято было практически все, что можно услышать и на любой другой, значительно более сложный приемник.
Литература:
- Журнал «Радио», 2003, № 1, с. 58—60
- Журнал «Радио», 2003, № 2, с. 58—59
- Статья "Простой радиоприемник коротковолновика-наблюдателя"(в формате DjVu)
Комментарии